內膽沖孔伺服液壓機
2020-2-25 來源:徐州鍛壓機床廠 液壓機事業部 作者:王 磊
摘要:在家電內膽沖孔傳統工藝中,須靠單臺設備逐一人工操作設備實現,無法實現全自動化內膽沖孔工藝,效率低下。為此,設計了內膽沖孔專用設備。該設備由機架、滑塊、主缸、移動工作臺、移動臺支架、主動力站、副動力站等組成。移動臺由伺服電機驅動減速機,直線導軌導向,將移動臺精確送至機械手抓取位置。
關鍵詞:液壓機;伺服;內膽沖孔;全自動
液壓機是工業生產中必不可少的設備,也是成形生產中應用最廣的設備之一。常規移動臺的驅動采用齒輪、齒條移動臺體,但無法提高線性導軌的使用壽命(線性導軌只能承受 10~20t 載荷),需單獨提供提升裝置用于保護線性導軌。而本設計的移動臺結構可以解決此問題,延長線性導軌使用壽命;另外伺服減速機的導向依靠線性導軌導向,導向精度高,移動臺的速度可根據生產需要任意無級調整。
1 、設備結構概述
如圖 1 所示,本機床主要由機架 1、主缸 2、移動工作臺 3、主動力站 4、副動力站 5 等部分組成,現將各部分結構和作用分述如下。


圖 1 設備結構示意圖
1.機架 2.主缸 3.移動工作臺 4.主動力站 5.副動力站
1.1 機架
機架為鋼板焊接閉式結構,焊后均經過壁爐退火處理,充分消除焊接變形和應力,確保焊接件的精度和精度保持性,兩個主缸分別裝在機架上梁內左右兩側,滑塊置身于機身中間,其上平面和主缸連接,滑塊下平面加工有 T 型槽,用以固定上模具;滑塊四角裝有可調導軌,保證滑塊導向精度,有一定抗偏載能力,其設備下面中間位置設有移動工作臺。
1.2 主缸
主缸缸體通過法蘭、鎖母和上梁連接,活塞桿與滑塊連接,油缸缸體采用鍛鋼,加工后內表面經過滾壓處理,使其達到足夠的強度和剛度,活塞桿進行表面淬火處理。
1.3 移動工作臺
移動工作臺使沖孔模具可以自動移入和移出,移動裝置由伺服電機和減速機驅動齒輪齒條實現,兩根線性導軌導向,確保移入移出定位準確。移動工作臺中間鏤空,便于沖孔模具的落料和安裝廢料輸送的皮帶。
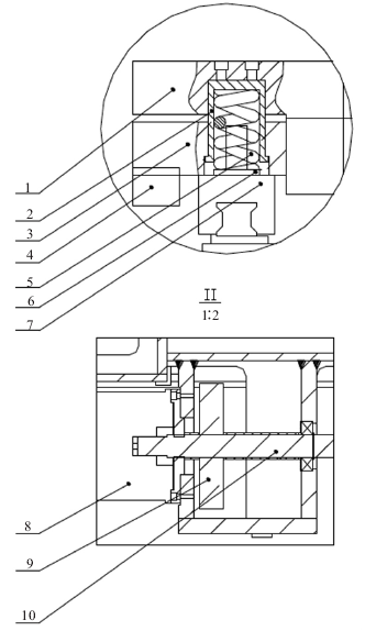
當伺服減速機 8 的驅動軸帶動齒輪 9(移動臺兩邊各一套)、齒條 4(移動臺兩邊各一套)、連接軸 10、浮動墊板 3,浮動墊板 3 通過連接套 2(單邊 8 套、雙邊 16 套)帶動移動臺體 1 移動,當移動臺上面有模具時,通過主缸的壓力克服 16 套彈簧 5 的彈簧力,從而保證移動臺體與機身的工作臺體的緊密貼合,保證兩件的受力狀況達到最好,另外浮動墊板 3 的下面通過螺釘將 16 套線性導軌的滑塊 7 連接,從而保證線性導軌的滑塊 7 與浮動墊板 3 緊密貼合,可以承受移動臺體和模具重量的能力。另外,減速機的導向依靠線性導軌導向,導向精度高,減速機的速度控制依靠伺服減速機控制,速度可根據需要任意調整。
1.4 主、副動力站
液壓機的動作和模具動作采用兩套獨立的液壓系統控制,即設備配置兩個獨立的液壓站,液壓機滑塊的上、下運動由主液壓站控制,模具的液壓控制系統由副動力站控制,模具工作壓力為 14.0MPa,上模配置 4 組獨立油壓回路,下模配置 4 組獨立油壓回路;每個電磁閥可以獨立控制其動作、單獨調壓。
動力機構主要由油箱、高壓齒輪泵、伺服電動機和二通插裝閥等組成,它是生產和分配工作油液使主機實現各種動作的機構。油箱內設濾油裝置,箱前裝有觀察油面高度的油標,兩側開有清洗油箱用的窗口。電動機以及二通插裝閥組置于油箱上部。二通插裝閥組是一種新型的液壓元件,它具有流動阻力小、通油能力大、動作速度快;密封性能好、無泄漏、不易卡死;抗污染能力強、體積小、壽命長、易于維修等特點。
2 、液壓傳動及電氣控制
2.1 液壓傳動及電氣概述
液壓系統由能源轉換裝置(油泵和油缸)、能量調節裝置(各種閥)以及能量輸送裝置(管路)等組成,在電氣系統的控制下驅動滑塊來完成各種工藝要求的動作。
本機器具有調整、手動和半自動三種工藝規范,可按具體制件的工藝要求進行選擇。其中,“調整”操作為按壓相應按鈕得到要求的點動動作,“手動”操作為按壓相應按鈕得到要求的連續動作,“半自動”操作為按壓工作按鈕使機床自動完成一個動作循環。
2.2 電氣控制
本機器系統的任務是按照液壓系統規定的動作圖表驅動電動機,選擇規定的工作方式,在發訊元件的指令下,使有關電磁鐵動作,以完成指定的工藝動作。

圖 2 移動臺結構示意圖
1.移動臺體 2.連接套 3.浮動墊板 4.齒條 5.彈簧 6.彈簧
座 7.線性導軌 8.伺服減速機 9.齒輪 10.連接軸
根據本機器生產工藝的要求,設有“調整”、“手動”和“半自動”三種工作方式,其操作按鈕布置于機身的固定按鈕站上。
3 、主要技術參數及特點概述
3.1 主要技術參數

3.2 移動工作臺特點概述
移動工作臺具有自動升降功能,確保沖切時工作臺與液壓機下梁底座接觸,不會壓壞直線導軌;移出時工作臺自動上升,能夠閃開間隙移出。移動工作臺上安裝有臺面清潔裝置,防止沖孔碎片落在直線導軌上等運動機構上,造成運動機構的損壞。
投稿箱:
如果您有機床行業、企業相關新聞稿件發表,或進行資訊合作,歡迎聯系本網編輯部, 郵箱:skjcsc@vip.sina.com
如果您有機床行業、企業相關新聞稿件發表,或進行資訊合作,歡迎聯系本網編輯部, 郵箱:skjcsc@vip.sina.com